Autopecas
Grampos Industriais
- A Combustão
- Abafadores Esportivos
- Abertura Capô
- Abraçadeiras
- Abraçadeiras
- Abridores de Latas Elétricos
- Abrilhantadores
- Acendedores
- Acessórios
- Acessórios para Micro Retifica
- Acordeons
- Adaptadores
- Adaptadores
- Adaptadores de Furadeiras
- Adaptadores de Scanners
- Adaptadores de Tomadas
- Adaptadores e Gateways
- Agulhas
- Agulhas de Bordar
- Airbag
- Alargadores de Pára-Lamas
- Alarmes
- Alarmes para Motos
- Algemas
- Algemas Policiais
- Alicate Hidráulico
- Almas de Para-choques
- Almofadas
- Almofadas
- Almofadas Térmicas
- Almofadas para Carimbos
- Alças
- Alças
- Alças para Banheiro
- Amperímetros
- Amplificadores
- Andadores
- Aneis para Microblading
- Anel Segmento
- Anel de Vedação O-Ring
- Anilhas
- Anilhas de Marcação
- Antenas
- Antenas
- Antenas de TV
- Anéis
- Anéis
- Anéis
- Anéis Adaptadores
- Anéis de Retenção
- Aparelhos Autónomos
- Aparelhos de Choque
- Aparelhos de Osmoses Reversa
- Aplicadores de Brincos
- Apoio de Cabeças
- Apoios de Braço
- Apoios para Pés
- Apontadores
- Aquecedores
- Aquecedores
- Aquecedores para Dutos de Ar
- Arames
- Arcos
- Areia
- Ares Comprimidos
- Armas de Propulsão
- Armações
- Aros
- Aros
- Arrastes
- Arruelas
- Assento Sanitário
- Assentos de Banheiras
- Automodelismo
- Automáticas
- Automóveis
- Aventais
- Aviões
- Bagageiros Gradeados
- Balancins
- Balancins
- Balanças
- Balanças
- Balanças Comerciais
- Balanços
- Balcões
- Bancos
- Bancos
- Bancos de Jardim
- Bandejas
- Banjo
- Barra De Torção
- Barra Estabilizadora
- Barra Haste Reação
- Barras
- Barras Antipânico
- Barras Axiais
- Barras LED
- Barras Roscadas
- Barras de Ling
- Bases
- Bases Faciais
- Bases para Cadeiras
- Batedeiras
- Batedores
- Bendix de Partida
- Bicicletários
- Bicos Unidades Injetoras
- Bicos de Mamadeira
- Bicos de Pato
- Bielas
- Bielas
- Bieletas
- Bigornas
- Biscoitinhos de Bebês
- Bloco Completo
- Blocos de Concreto
- Blocos Ópticos
- Blocágens
- Bobina Compressor
- Bobinadeiras
- Bobinas
- Bobinas De Ignição
- Bobinas Impulsoras
- Bobinas de Ignição
- Bobinas para Máquinas
- Bocais
- Bolas para Engates
- Bolas para Rolamentos
- Bolhas
- Bolsas
- Bolsas de Viagem
- Bolsas para Ferramentas
- Bomba Depressor
- Bomba de Óleo
- Bomba para Garrafão
- Bombas
- Bombas
- Bombas Hidráulicas
- Bombas Injetoras
- Bombas Submersas
- Bombas de Ar Manuais
- Bombas de Vácuo
- Bonecos e Figuras de Ação
- Bongos
- Borboletas
- Botijões de Gás
- Botão Teto Solar
- Botão Vidro Elétrico
- Botãos de Espejos Laterais
- Botões
- Botões
- Botões
- Botões Industriais
- Botões de Bloqueio Central
- Botões de Farois de Milhas
- Botões de Volante
- Box para Banheiro
- Braços de Limpa Para-brisas
- Bridões
- Brinquedos
- Brinquedos de Controle Remoto
- Brinquedos de Pegadinhas
- Britadores de Mandíbulas
- Bronzeador
- Bucha da Coroa
- Buchas
- Buchas
- Bujão
- Bujões
- Bulbo de Temperatura
- Buzinas
- Bóias
- Bóias de Combustível
- Cabeça de Impressão
- Cabideiros
- Cachimbos
- Cachimbos de Velas
- Cadeira Longarina
- Cadeiras
- Cadeiras de Banho
- Cadeiras de Jantar
- Cadeiras de Massagem
- Cadeirinha para Bicicleta
- Cadernos
- Cafés da Manhã e Merendas
- Caibros
- Caixa Arquivo Morto
- Caixa Pré-Aquecimento
- Caixa de Correio
- Caixa de Câmbio
- Caixa de Descarga
- Caixa de Direção
- Caixa de Ferramentas
- Caixa de Transferência
- Caixas
- Caixas
- Caixas
- Caixas
- Caixas
- Caixas Acústicas
- Caixas D'agua
- Caixas Decorativas
- Caixas Registradoras
- Caixas Registradoras Manuais
- Caixas Seladas
- Caixas de Chá
- Caixas de Correspondência
- Caixas de Costura
- Caixas de Engrenagem
- Caixas de Marchas
- Caixas de Passagem Herméticas
- Caixas para Mangueiras
- Caixas para Massa
- Calculadoras
- Caldeiras Geradoras de Vapor
- Caldeiras Vapor
- Calha Chuva
- Calibrador
- Calibradores de Folga
- Calotas
- Calçadeiras
- Calças
- Calças de Ferrador
- Calços
- Camas Elásticas
- Caminhos de Mesa
- Caminhões
- Camisas
- Camisas
- Camisetas
- Camisetas
- Campainhas
- Canecas
- Caneta Alta Rotação
- Canetas
- Canetas Detectoras
- Cantoneiras Protetoras
- Cantoneiras para Racks
- Capacitor para Ventilador
- Capacitores
- Capas
- Capas de Proteção Frontal
- Capas de Raios
- Capas de Selims
- Capas de Volante
- Capas para Carros
- Capas para Celular
- Capas para Conectores
- Capas para Cães
- Capas para Espelhos Laterais
- Capas para Motos
- Capas para Quadriciclos
- Capotas
- Capuzes
- Carburadores
- Cardan
- Carenagem
- Carneiros Hidráulicos
- Carnes
- Carregadores
- Carregadores
- Carregadores com Fio
- Carregadores de Baterías
- Carrinhos de Mão
- Carrinhos de limpeza
- Carroceria
- Carros
- Casas de Pássaros
- Cases
- Cases e Capas
- Catalisador
- Cateteres
- Catálogos
- Cavaletes
- Cavaletes
- Cavaletes
- Cavaletes Infantis
- Cavalos e Éguas
- Centradores
- Centros de Atividades
- Centros de Usinagem CNC
- Centrífuga de Frutas
- Ceras
- Chapas
- Chapéus
- Charretes
- Chave Ignição
- Chave da Partida
- Chave de Contato
- Chave de Luz
- Chaveiros
- Chaveiros
- Chaves
- Chaves Corta Circuito
- Chaves de Fenda
- Chaves de Impacto
- Chillers de Água
- Cilindro de Co2
- Cilindros
- Cilindros de Oxigênio
- Cintos
- Cintos de Castidade
- Cintos de Segurança
- Cinzeiros
- Cinzeiros
- Circuitos Integrados
- Clamps
- Climatizador Portátil
- Climatizadores
- Clips e Prendedores
- Cobertores
- Cobre Patins
- Codornas
- Coifas de Câmbio
- Coifas e Depuradores
- Colares
- Colecionáveis de Esportes
- Coletores Menstruais
- Coletores de Dados
- Coluna Direção
- Coluna de Direção
- Colunas Decorativas
- Colunas e Copos
- Comandos
- Combustão
- Comedouros
- Compactadores de Solo
- Componentes e Peças
- Compressor
- Compressores
- Compressores de Ar
- Compressores de Ar
- Compressores de Ar
- Condensadores
- Cone
- Conectores
- Conectores
- Conectores de Rede
- Conectores de Scanners
- Conectores para Mangueiras
- Cones de Sinalização
- Conjunto para Jardim
- Conjuntos
- Conjuntos
- Conjuntos
- Conjuntos
- Conjuntos
- Conjuntos e Soutiens
- Consoles
- Consoles
- Contatores
- Contrabaixos Acústicos
- Controles
- Controles Remotos
- Controles Remotos
- Controles Remotos para Alarmes
- Conversores
- Conversores
- Conversores Flex
- Coolers para PC
- Copos
- Copos Térmicos
- Cordas
- Cornetas
- Coroas
- Coroas
- Coronhas
- Corrediças Telescópicas
- Correias
- Correias
- Correias Dentadas
- Corrente de Distribuição
- Corretivos
- Corrimãos
- Cortadoras e Gravadoras Laser
- Cortadores de Charutos
- Cortadores de Queijo
- Cortinas
- Cotonetes
- Cotoveleiras
- Cotoveleiras
- Crachás e Cartões
- Cremalheiras para Portões
- Cremes para Mãos e Pés
- Cromados
- Crustadores de Copos
- Cruzeta Coluna de Direção
- Cubas para Banheiro
- Cubos
- Cubos de Gelo Reutilizáveis
- Cubos e Prateleiras Flutuantes
- Cunhos
- Cárters Completos
- Câmaras de Ar
- Câmbio
- Câmera Veicular
- Cílios Postiços
- D12000
- De Discos
- De Piscas
- Descansos para Panelas
- Desengraxantes
- Desentupidores Sanitarios
- Didjeridoos
- Difusores de Ar
- Difusores de Aromas
- Difusores para Secadores
- Diluentes e Solventes
- Dimmers
- Diodo
- Discmans
- Disco de Desbaste
- Discos Antigos
- Discos de Arado
- Dispensadores de Copos
- Dispensers de Sabonete
- Displays e LCD
- Dissipadores
- Distribuidores
- Diversos
- Dobradiças
- Dobradiças
- Dobradiças
- Drenos de Fundo
- Drivers
- Dual Chip
- Economizadores de Combustível
- Eletrocardiógrafos
- Eletrodos para Solda
- Eletroválvulas
- Eletrônicas
- Elevadores Automotivos
- Elásticos
- Elásticos de Cabelo
- Elétrico
- Elétricos
- Elétricos
- Elétricos
- Elétricos
- Embaladoras
- Emuladores de Bicos
- Engate Reboque
- Engate de Tração
- Engates Completos
- Engates Rápidos
- Engranagens
- Engraxadeira
- Engraxadeiras
- Engrenagem Árvore de Comando
- Engrenagens
- Envelopamento De Carros
- Envelopes para Convites
- Equipamento Cervejeiro
- Equipamento de Pintura
- Equipamentos de Base
- Escadas
- Escadas e Rampas
- Escoras Pontuais
- Escovas
- Escovas Rotativas
- Escovas de Arame
- Escovas de Limpeza
- Escovas e Pentes
- Escudos para Guitarras
- Esferas BBs
- Esferas Efervescentes
- Espaçadores de Medicamentos
- Espelhos
- Espelhos Telescópicos
- Espelhos para Banheiro
- Espelhos para Carros
- Espirais para Encadernação
- Esponjas de Banho
- Espuma de Poliuretano
- Estabilizadores
- Estabilizadores
- Estacas
- Estatores
- Estatores
- Estatuetas
- Esteiras
- Esteiras para Mecânicos
- Esticador
- Estiletes Cortadores
- Estufas de Jardím e Agrícolas
- Exaustores de Ar
- Expositores de Pesos e Barras
- Expositores para Coleções
- Extensor de Caçamba
- Extratores de Parafusos
- Extratores para Polia
- F-250
- Faróis
- Faróis de Milha
- Fechos de Contato
- Fichários
- Filmadoras
- Filmes
- Fita de LED
- Fitas Adesivas
- Fitas Antiderrapantes
- Fitas Isolantes Liquidas
- Fitas Térmicas
- Fitas de Arquear
- Fitas de Perigo
- Fitas para Rotuladores
- Fivelas
- Flash para Celulares
- Flashes
- Flores Artificiais
- Focos Cirúrgicos
- Fontes
- Fontes Chaveadas
- Formas para Sabonetes
- Forros de Capô
- Forros de PVC
- Forros do Teto
- Fotocontroladores
- Fresadoras
- Frutas Secas
- Funis
- Furadeira Parafusadeira
- Fusores
- Fusíveis
- Gaiolas
- Ganchos para Carne
- Garfos
- Garras
- Gavetas de Fixação
- Geladeiras
- Geradoras de Engrenagens
- Gotejador
- Gotejadores Plásticos
- Grades de Farois de Milha
- Grades de Para-choques
- Grades de Ventilação
- Grafites
- Grampeadores
- Grampeadores e Pinadores
- Grampos
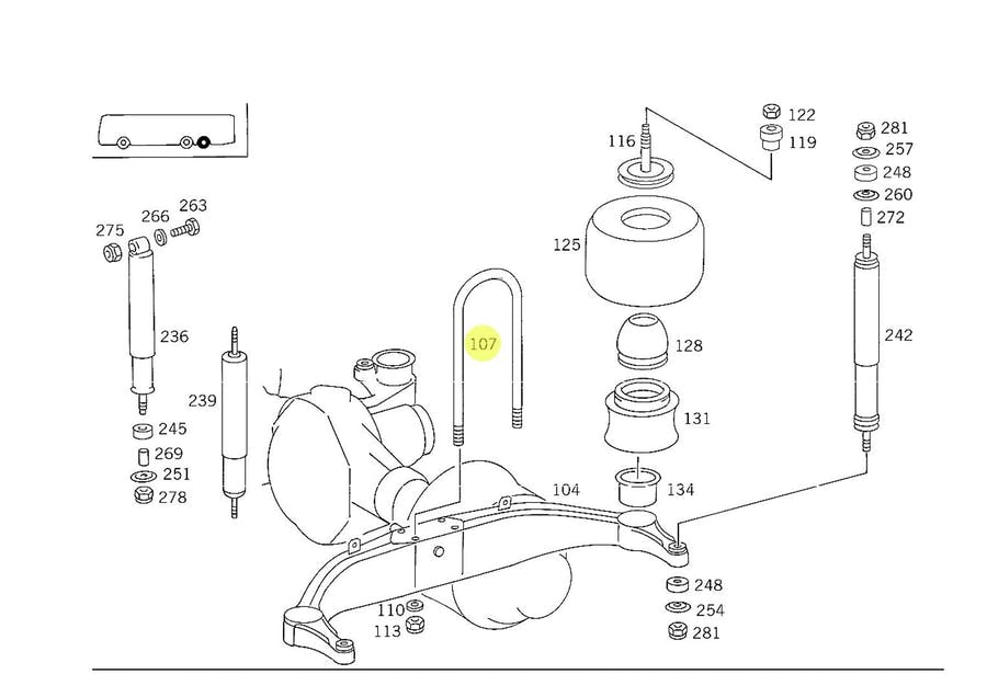
- Grampos Industriais
- Grampos Sargento
- Grampos Sargento Angulares
- Gravadores DVR
- Gravadores e Programadores
- Grelhas
- Gripe e Resfriado
- Grupos e Kits
- Guarda-Chuvas
- Guarnições
- Guias
- Guinchos Hidráulicos
- Guitarras
- Guloseimas
- Gás Refrigerante
- Gás Refrigerante
- HQs
- Helicópteros
- Hidráulica
- Hidráulicas
- Hidráulico
- Hubs USB
- Hélice para Ventilador
- Hélices
- Hélices
- Identificadores de Plantas
- Ilhos
- Impermeabilizantes de Tecidos
- Imãs
- Induzido
- Injetores para Caldeiras
- Injeção Programável
- Inseticidas
- Interior
- Interruptores
- Interruptores
- Interruptores
- Interruptores Automáticos
- Interruptores Elétricos
- Interruptores de Desembaçador
- Interruptores de Direção
- Interruptores de Luz de Parede
- Interruptores de Ré
- Inversores de Frequência
- Isolamento Acústico Anti-Ruído
- Jaquetas Táticas
- Joelheira
- Jogo de Sofá
- Jogos Completos
- Jogos de Roleta
- Jogos de Tabuleiro
- Junções de Direção
- Kangoo Jumps
- Kit Completo
- Kit Ferramentas
- Kit Instalação de Aquecedor
- Kit Manicure
- Kit de Acessórios
- Kit de Chaves
- Kit de Distribuição
- Kit de Segurança para Carros
- Kit para Churrasco
- Kites
- Kits Completos
- Kits Completos
- Kits Confeiteiros
- Kits de Acessórios
- Kits de Antenas Parabólicas
- Kits de Barras e Anilhas
- Kits de Cilindros
- Kits de Criminologia
- Kits de Cuidado com a Pele
- Kits de Ferramentas
- Kits de Ferramentas
- Kits de Ferramentas Combinadas
- Kits de Ignição
- Kits de Instrumentos
- Kits de Limpeza
- Kits de Manifolds
- Kits de Pistãos e Camisas
- Kits de Rolamentos e Carimbos
- Kits para Cabeleireiro
- Kits para Plantar
- LCD Displays
- LED
- Lanyards
- Lapiseiras
- Leap Motion
- Leitores Biométricos
- Leitores de Cartão
- Leitores de Código de Barras
- Letreiros Luminosos
- Letreiros Sem Luz
- Limpa Contatos
- Limpadores Magnéticos
- Limpadores Multiuso
- Limpadores de Corrente
- Limpadores de Para-brisas
- Linhas
- Livros
- Livros
- Lixadeiras
- Lixas
- Lixeiras
- Localizadores de Satélite
- Locomotivas
- Lotes de Roupa
- Lubrificantes
- Luminárias de Mesa
- Luminárias de Teto
- Luvas
- Luvas
- Luvas
- Luvas
- Luvas
- Luvas Táticas
- Luvas de Cozinha
- Luvas de Redução
- Luvas para Academia
- Luz Emergência
- Lápis
- Lâminas
- Lâminas Para Tebori
- Lâminas de Barbear
- MB 1933
- MB 2425
- MB 2540
- MB 2640
- MP3
- Manetes de Comando
- Mangueira
- Mangueira Radiador
- Mangueiras
- Mangueiras
- Mangueiras
- Mangueiras
- Mangueiras
- Mangueiras
- Mangueiras de Admissão
- Mangueiras de Calefação
- Mangueiras de Combustível
- Mangueiras de Incêndio
- Mangueiras para Piscinas
- Mangá
- Manivela Vidros
- Manopla de Câmbio
- Manoplas
- Manoplas
- Manoplas de Volantes
- Manuais
- Manuais
- Manuais
- Manuais
- Manômetros
- Maquinas de Corte de Plasma
- Marcadores
- Martelos
- Massas Corridas e Plásticas
- Maçanetas
- Maçanetas
- Medidores de Aneis e Dedos
- Medidores de Potencia y Roe
- Medidores de Umidade
- Medidores de Ângulos
- Meias
- Mercedes Benz
- Mesas
- Mesas Auxiliares
- Mesas de Jantar e Cozinha
- Micro Ônibus
- Microcontroladores
- Microfones
- Micrômetros
- Mictórios
- Mini System
- Miçangas
- Modelos Anatômicos de Órgãos
- Modems
- Modulos de Fusiveis
- Moedas
- Moedores de Carne
- Mola de Válvula
- Molas
- Molas de Partida
- Molas de Reposição
- Molas para Camas Elásticas
- Moldes para Injetoras
- Molduras
- Molduras de Espelhos e Quadros
- Molduras de Faróis
- Molha Dedos
- Monitores
- Munhecas para Reboque
- Máquinas Extrusoras
- Máquinas Injetoras
- Máquinas de Beneficiar
- Máquinas de Efeitos de CO2
- Máquinas de Jato de Areia
- Máquinas de Lavar
- Máquinas de Pastas
- Máquinas de Secar
- Máscaras
- Máscaras
- Móbiles
- Módulo de Ignição
- Módulos
- Módulos Amplificadores
- Música
- NH12 340
- Nipples
- Niveladores de Piso
- Números Residenciais
- Organizadores de Armários
- Organizadores de Bolsas
- Organizadores de Escritório
- Outras
- Outras
- Outras
- Outras
- Outras Antiguidades
- Outras Bombas
- Outras Ferramentas
- Outras Marcas
- Outras Máquinas
- Outras Peças
- Outras Peças
- Outros
- Outros
- Outros
- Outros
- Outros
- Outros
- Outros
- Outros
- Outros
- Outros
- Outros
- Outros
- Outros
- Outros
- Outros
- Outros
- Outros
- Outros
- Outros
- Outros
- Outros
- Outros
- Outros
- Outros
- Outros
- Outros
- Outros
- Outros
- Outros
- Outros
- Outros
- Outros
- Outros
- Outros
- Outros
- Outros
- Outros
- Outros
- Outros
- Outros
- Outros
- Outros
- Outros
- Outros
- Outros
- Outros
- Outros
- Outros
- Outros
- Outros
- Outros
- Outros
- Outros
- Outros
- Outros
- Outros
- Outros
- Outros
- Outros
- Outros
- Outros
- Outros
- Outros
- Outros
- Outros
- Outros
- Outros
- Outros
- Outros
- Outros
- Outros
- Outros
- Outros
- Outros
- Outros
- Outros
- Outros
- Outros
- Outros
- Outros
- Outros
- Outros
- Outros
- Outros
- Outros
- Outros
- Outros
- Outros
- Outros
- Outros
- Outros
- Outros
- Outros
- Outros
- Outros
- Outros
- Outros
- Outros
- Outros
- Outros
- Outros
- Outros
- Outros
- Outros
- Outros
- Outros
- Outros
- Outros
- Outros
- Outros
- Outros
- Outros
- Outros
- Outros
- Outros
- Outros
- Outros
- Outros
- Outros
- Outros
- Outros
- Outros
- Outros
- Outros
- Outros
- Outros
- Outros
- Outros
- Outros
- Outros
- Outros
- Outros
- Outros
- Outros
- Outros
- Outros Acessórios da Moda
- Outros Botões
- Outros Eletrônicos
- Outros Ingressos
- Outros ML não vai
- Outros Modelos
- Outros Modelos
- Outros Produtos de Limpeza
- Outros Produtos para Piscina
- Outros Relógios
- Outros Utensílios
- Outros Utensílios e Acessórios
- Outros Veículos
- Outros Veículos Pesados
- Outros produtos
- Paineis Decorativos
- Painéis
- Painéis Completos
- Painéis Laterais
- Painéis Traseiros
- Painéis de Ferramentas
- Painéis de Festa
- Painéis e Velocímetros
- Paleta de Sombras
- Panos de Biruta
- Papeis de Parede
- Papéis
- Papéis Hectográficos
- Para Acordeons
- Para Aquecedores de Água
- Para Fones
- Para Lavadoras de Roupas
- Para TV
- Para Trompetes
- Para-brisas
- Para-brisas
- Parafusos Anti Furto
- Parafusos Prisioneiros
- Parafusos de Boca
- Parafusos de Fenda
- Parafusos do Cilindro
- Parassóis
- Pasta Térmica
- Pastas Executivas
- Pastilhas
- Pastilhas Decorativas
- Pavãoes
- Películas Protetoras
- Peneiras
- Pentes
- Percevejos
- Perfis
- Perfuradores
- Pergolado
- Pescador de Óleo
- Pezinhos
- Peças Automotivas
- Peças Pé Mecânico
- Pick Up Rollers
- Pilhas
- Pincéis para Pintura
- Pinos para Etiquetas
- Pins e bottons
- Pinças
- Pinças Odontológicas
- Pisca Pisca
- Pisca Pisca
- Piscas
- Pisos Cimenticios
- Pisos de Madeira
- Pistas de Autorama
- Pistas e Lançadores de Carros
- Pistolas de Pintura
- Pistãos
- Pistões
- Placa Eletronica
- Placas
- Placas Decorativas
- Placas Drywall
- Placas Mãe
- Placas de Captura de TV/Vídeo
- Placas de Carimbo para Unhas
- Placas de Cortiça
- Placas de Diagnóstico
- Placas para Tornos
- Plantas Aquáticas
- Plaquinhas para Festas
- Plastimodelismo
- Plugs Anais
- Polainas
- Polias
- Polias
- Polias Viscosas
- Polias de Alternador
- Polias para Bombas de Água
- Pontas para Parafusar
- Ponteiras
- Ponteiras
- Ponteiras
- Ponteiras para Cadeiras
- Pontes Rolantes
- Pontes para Guitarras
- Posicionadores para Fotografía
- Potenciômetros
- Prateleiras para Banheiro
- Pratos
- Pratos
- Pratos
- Pratos
- Pratos Decorativos
- Presilhas
- Presilias
- Pressostato
- Pressostatos
- Primer Facial
- Processadores de Efeitos
- Prolongadores de Caixas
- Protetor de Caçamba
- Protetor de Cárter
- Protetores
- Protetores Cervicais
- Protetores Solares para Carros
- Protetores de Garagem
- Protetores de Guidão
- Protetores de Mãos
- Protetores de Ombro
- Protetores de Radiador
- Protetores de Tomada
- Protetores de Toráx
- Protetores para Colchões
- Próteses Dentárias
- Pulverizadores Manuais
- Purificadores de Ar
- Puxadores
- Puxadores
- Puxadores Decorativos
- Pára-Lamas
- Pára-choques Dianteiros
- Pára-choques Traseiros
- Pára-lamas
- Pás
- Pé mecânico
- Pés de Cabra
- Pós
- Quadros
- Quadros de Faróis Dianteiros
- Quadros de Transferência
- Quadros e Lousas
- Quebra Sóis
- Quebra Vento
- Quiosques Digitais
- Rabetas Traseiras
- Racks de Servidores
- Radiador de Calefação
- Radiadores
- Radiadores Intercooler
- Radiadores de Água
- Raladores
- Ratoeiras
- Ração
- Reatores Eletrônicos
- Rebites
- Receptores
- Recipientes
- Rede de Proteção
- Redes Elásticas Aranha
- Redes de Proteção
- Redutores de Velocidade
- Refiladores de Bordas
- Refis
- Refletores Olho de Gato
- Regadores de Jardim
- Regulador de Pressão
- Reguladores
- Reguladores de Oxigênio
- Reguladores de Tensão
- Reguladores e Retificadores
- Relé
- Relés
- Relógios Comparadores
- Renault
- Reparos Bombas
- Repelentes Ultrassônicos
- Resfriadores de Leite
- Resistores
- Restritores
- Retentores
- Retentores Vedação
- Retentores de Válvulas
- Retentores para veículos
- Rodizios
- Rodos
- Rolamentos
- Rolamentos
- Rolamentos para Compressor
- Roldanas
- Rolos
- Rolos de Embalagem
- Rolos de Massa
- Rosh para Narguilés
- Rotores
- Rotores de Distribuidor
- Routers CNC
- Réguas e Transferidores
- Saboneteira
- Sacos Plásticos
- Sacos de Contrapeso
- Sacos de Lixo
- Sacos para Freezer
- Saias
- Sandálias e Chinelos
- Sapatas
- Sapatos
- Secadoras de Café
- Secadores de Cabelo
- Seladores e Impregnantes
- Selantes
- Selos Postais
- Sem Grau
- Serpentinas
- Servos
- Sets de Sanitários e Torneiras
- Sets de Torneiras
- Shampoo para Carros
- Sidras
- Sifões
- Silenciosos
- Simuladores
- Simuladores de Caminhada
- Sinos
- Sinos Dos Ventos
- Sirenes
- Software Comercial
- Sonares
- Sonda Lambda
- Spoilers
- Sprinter Van
- Sucatas e Batidos
- Suplementos
- Suplementos Alimentares
- Suspensórios
- Suspensões e Garfos
- Tacógrafo
- Tacômetros Portáteis
- Tag Pins
- Talas Ortopédicas
- Tambores Contentores
- Tampas
- Tampas
- Tampas
- Tampas
- Tampas
- Tampas
- Tampas
- Tampas
- Tampas Traseiras de Caçamba
- Tampas da Caixas de Fusíveis
- Tampas de Caixas de Agua
- Tampas de Correntes
- Tampas de Diferencial
- Tampas de Estatores
- Tampas de Inspeção
- Tampas do Distribuidor
- Tampinhas e Rolhas
- Tampos para Balcão
- Tampões
- Tapa Mamilos
- Teclas Avulsas
- Tees
- Tela Mosquiteira
- Tela para Balões
- Telas para Alto-Falantes
- Telefones
- Telhas
- Termofusoras
- Termostatos
- Termostatos
- Termômetros de Banho
- Tesouras
- Tesouras
- Tetos Solares
- Tiaras
- Tiaras e Coroas
- Tintas Sprays
- Tintas a Óleo
- Tintas para Carimbos
- Tintas para Piscinas
- Tinteiros
- Tiras para Chinelos
- Toalheiros
- Tomadas
- Tomadas de Ar
- Toms
- Torneiras
- Torneiras Convencionais
- Tornos CNC
- Tornos Mecânicos
- Tornozeleiras
- Torquês
- Torradeiras
- Torradores de Café
- Torres Estaiadas
- Torres de Aprendizagem
- Tracionadores
- Trajes para Dança
- Transformadores
- Tratamentos
- Tratamentos com o Cabelo
- Travas
- Travas de Chuteiras
- Travas de Segurança
- Travas de Volantes
- Travas, Pinos, Anéis de Retenção
- Travessas
- Travessas e Assadeiras
- Trens
- Trilhos e Desvíos
- Trituradores de Grãos
- Triângulos de Segurança
- Trocadores
- Trocadores Portátiles
- Trucks
- Tubas
- Tubetes Protetores de Emendas
- Tuchos
- Turbinas
- USB
- USB Padlocks
- Unidades Hidráulicas
- Unidades de Fita
- Unidades Ópticas
- VW 26260
- Valvulas de Prioridade
- Vapor de Gasolina
- Varetas de Fibra
- Varões para Cortinas
- Vasos Decorativos
- Vasos de Expansão
- Velas de Ignição
- Velocímetro e componentes
- Ventilador
- Ventiladores de Radiador
- Ventosas para Desamassar
- Vibradores
- Vibradores de Concreto
- Virabrequim
- Virabrequim
- Virabrequins para motos
- Viseiras de Capacete
- Volante do Magneto
- Volantes
- Volvo FH12 460
- Válvula EGR
- Válvula Reguladora De Co2
- Válvula de Calefação
- Válvula de Expansão
- Válvula de Retenção
- Válvulas
- Válvulas Eletrônicas
- Válvulas Solenoides
- Válvulas Torre
- Válvulas de Descarga
- Válvulas de Esfera
- Válvulas para Irrigação
- Xale
- Águas Aromatizadas
- Águas Minerais
- Árvores Comandos de Válvulas
- Árvores de Natal
- Óleos
- Óleos
- Óleos de Direção
- Ônibus
5%
DE DESCONTO
A VISTA NO PIX OU BOLETO
Marca: SAMBERCAMP
35,76
R$ 31, 83
Marca: ELRINGKLIN
8,99
R$ 8, 00
Marca: ORIGINAL M
✘ Produto Indisponível.
Marca: FAMA
✘ Produto Indisponível.
Marca: BFORTE
57,63
R$ 47, 26
✘ Produto Indisponível.
Marca: FAMA
✘ Produto Indisponível.
Marca: U GRAMPO
✘ Produto Indisponível.
Marca: AESA
✘ Produto Indisponível.
Marca: MARCHETTI
✘ Produto Indisponível.
Marca: MARCHETTI
✘ Produto Indisponível.
Marca: AESA
✘ Produto Indisponível.
Marca: AESA
✘ Produto Indisponível.
Marca: MARCHETTI
✘ Produto Indisponível.
Marca: AESA
✘ Produto Indisponível.
Marca: FAMA
✘ Produto Indisponível.